Միայն բիզնես հաճախորդների համար
ՀԱՃԱԽՈՐԴՆԵՐԻ ՄՈՒՏՔ
Ցանկանու՞մ եք լինել առցանց հաճախորդ
Գրանցվեք հիմա և օգտվեք մեր առցանց խանութի բոլոր հնարավորություններից։
Ապրանքներ
Միայն բիզնես հաճախորդների համար
Թեժ գիծ +374(0) 60 708807
Արագ առաքում
Ավելի քան 125,000 Ապրանք
Նմանատիպ ապրանքներ
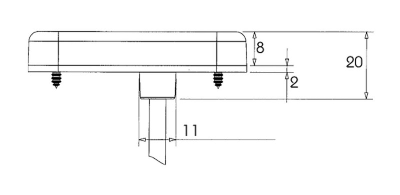
xLED side marker light SLIM 24V
Արտիկուլ: 081242 469
Հարցերի դեպքում կարող եք զանգահարել՝ +374(0)10 349347, 349348
| 0x |
Գինը գրանցվելուց հետո
|
Ավելացնել զամբյուղ |
Extra flat small design
Particularly suitable for use in confined spaces
Optimum protection against water ingress
Thanks to sealed housing
Lens: Clear
ՎԵՐՋԻՆ ԴԻՏԱԾՆԵՐԸ