Only for business customers

0

Shopping Cart
x
Your shopping cart is empty.

Products

Exclusively for business customers

Hotline +374(0) 60 708807

Quick delivery

More than 125,000 products

Related products

x
Related products

Code: 003935 35

Please log in to see the price

Questions ? +374(0)10 349347, 349348

1x
- +
Please log in to see the price
Add to cart
Product information

Catalogue page as PDF 1, 2, 3, 4

Specification
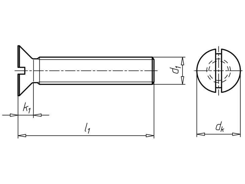
DIN 963, steel 4.8, galvanised, blue passivated (A2K)

DIN 963 has been withdrawn and replaced by ISO 2009. There is some limited similarity (some head heights and head diameters have been changed | Thread lengths changed | strength class 8.8 omitted | nominal u00d8 M10 removed).

LAST VIEWED

Added to cart