Միայն բիզնես հաճախորդների համար
ՀԱՃԱԽՈՐԴՆԵՐԻ ՄՈՒՏՔ
Ցանկանու՞մ եք լինել առցանց հաճախորդ
Գրանցվեք հիմա և օգտվեք մեր առցանց խանութի բոլոր հնարավորություններից։
Ապրանքներ
Միայն բիզնես հաճախորդների համար
Թեժ գիծ +374(0) 60 708807
Արագ առաքում
Ավելի քան 125,000 Ապրանք
Նմանատիպ ապրանքներ
xLED contour/tail light SLIM 24V
Արտիկուլ: 081242 467
Հարցերի դեպքում կարող եք զանգահարել՝ +374(0)10 349347, 349348
| 0x |
Գինը գրանցվելուց հետո
|
Ավելացնել զամբյուղ |
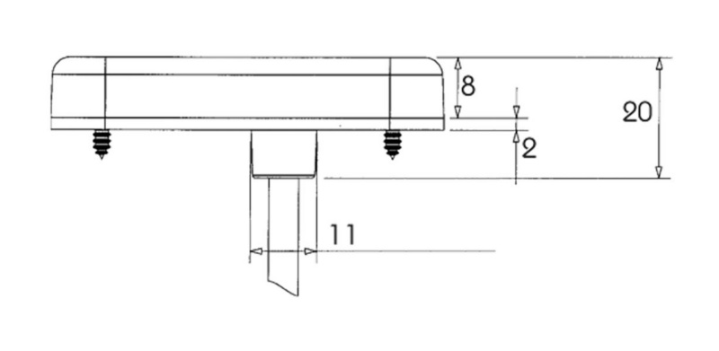
Extra flat, small design
Particularly suitable for confined spaces
Optimum protection against water ingress
Thanks to sealed housing
ՎԵՐՋԻՆ ԴԻՏԱԾՆԵՐԸ